
蔀戸吊り金具の製作例

蔀戸吊り金具の製作例
|
蔀戸(しとみど)吊金具(特注品)
|
○材質/鉄 ○艶消し黒仕上げ
※現場に応じて製作させていただきます。見積りを依頼される際は、蔀戸の詳細がわかる図面などの資料をお送りください。


※現場ごとに製作いたしますので、お気軽にお問い合わせください。 |
|
蔀戸吊金具B型 1尺5寸
|
○材質/鉄 ○艶消し黒仕上げ
○寸法/

※手作り品につき寸法には多少バラつきがございます。
※数量限定品 |
|

蔀戸用丁番の製作例
|
蔀戸用丁番(特注品)
|
○材質/鉄 ○艶消し黒仕上げ
※蔀戸丁番には既製品はございません。
※現場ごとに製作いたしますので、お気軽にお問い合わせください。 |
|
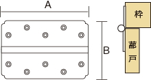
鉄製 木瓜丁番 A型 4寸巾広
|
面付け(面打ち)型。
○材質/鉄製 ○艶消し黒仕上げ
○木捻子止め

○寸法(ミリ)/A120、B100 板厚2.3
※手作り品につき寸法には多少バラつきがございます。
※数量限定品
|
|